海湾消防设备产品
联系方式
- 联系人:郭经理
- 传真:010-69552656
- 电话:400-0346-119
- 电话:010-57113119
- 邮箱:506665119@qq.com
- 地址:北京通州区新华北路117
JTY-HM-GST102线型光束感烟火灾探测器
文章来自:海湾消防设备 发布时间:2016-10-09 05:10:52

JTY-HM-GST102型线型光束感烟火灾探测器为编码型反射式线型红外光束感烟火灾探测器。探测器可直接与我公司生产的火灾报警控制器连接,通过总线完成二者间状态信息的传递。探测器必须与反射器配套使用,但需要根据二者间安装距离的不同决定使用一块或四块反射器。探测器主要具有以下特点:
(1)将发射部分、接收部分合二为一,安装简单、方便,光路准直性好;
(1)具有自动校准功能,确保可以由单人在短时间内完成调试,操作简单、方便;
(2)具有自诊断功能,可以监测探测器的内部故障;
(3)具有自动补偿功能,对于一定程度上的灰尘污染、位置偏移及发射管的老化等致使接收信号减小的因素可自动进行补偿;
(4)可现场设置三个级别的灵敏度,适用于不同扬尘程度的场所;
(5)电子编码,地址码可现场设定;
(6)探测光路设计巧妙,抗干扰性能强;
(7)密封设计,具有防水性能;
(8)**产品,**号为ZL03358053.7。
二、JTY-HM-GST102线型光束探测器主要技术指标
(1)工作电压:
总线电压:总线24V 电源电压:DC24V
(2)工作电流
电源电流:调试电流≤20mA
监视电流≤8mA
报警电流≤12mA
总线电流≤2mA
(3)灵敏度等级
一级:1.3±0.3dB
二级:1.7±0.3dB
三级:2.3±0.3dB
(4)指示灯:
调试状态:绿色和黄色指示灯以特定的方式点亮或闪亮
正常监视状态:红色指示灯周期性闪烁
火警状态:红色指示灯常亮,黄色指示灯熄灭
故障状态:黄色指示灯常亮
光路被全部遮挡:探测器先报故障并点亮黄色指示灯,20s~40s内探测器报火警,并点亮红色指示灯,熄灭黄色指示灯
(5)保护面积:探测器*大保护面积为14×100=1400m2,*大宽度为14m
(6)外壳防护等级:
普通环境应用时,外壳防护等级为IP20
特殊环境应用时,经胶封处理后,外壳防护等级为IP66
(7)使用环境:
温度:-10C~+50C
相对湿度≤95%,不结露
(8)外形尺寸:
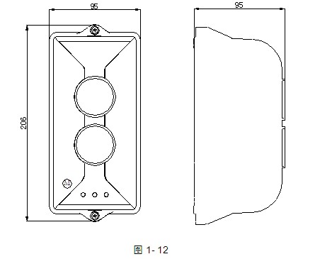
长度:206mm宽度:95mm厚度:95mm
三、JTY-HM-GST102线型光束探测器结构特征、安装与布线
本探测器外形示意图如图1-12:

将探测器与反射器相对安装在保护空间的两端且在同一水平直线上,探测器外形安装示意图如图1-13:
探测器采用明装安装,安装方式有两种:穿线管预埋和穿线管明装。当穿线管预埋时,可将探测器底壳安装在86H50型预埋盒的上方;当穿线管明装时,采用支架安装方式,底壳安装孔距及支架安装孔尺寸如图1-14所示。

当探测器与反射器间的安装距离大于等于8m(小于等于40m)时,需安装1块反射器;
当探测器与反射器间的安装距离大于40m(小于等于100m)时,需安装4块反射器。单块反射器安装需用两只6塑料胀钉将其固定,安装尺寸如图1-15所示,四块反射器安装时应摆放紧密,反射器之间不应留空隙,安装示意图如图1-16所示(图未按比例)。

探测器需要与直流24V电源线(无极性)及火灾报警控制器信号总线(无极性)连接,直流24V电源线接探测器的接线端子D1、D2端子上,总线接探测器的接线端子Z1、Z2上,反射器不需接线。接线端子示意图如图1-17。

布线要求:信号总线Z1、Z2采用阻燃RVS型双绞线,截面积≥1.0mm2;电源线D1、D2采用阻燃BV线,截面积≥1.5mm2。
海湾消防设备 电话:010-57113119
海湾主机维修 电话:13811139776
北京海湾消防 电话:010-57491119
气体灭火产品销售:13811139776
电气火灾产品销售:13811139776
大客户电话:13366405483
维修服务电话:010-57113119







